Product Summary
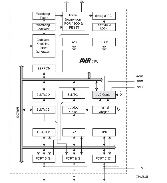
The ATMEGA48V-10AU is a low-power CMOS 8-bit microcontroller based on the AVR enhanced RISC architecture. By executing powerful instructions in a single clock cycle, the ATMEGA48V-10AU achieves throughputs approaching 1 MIPS per MHz allowing the system designer to optimize power consumption versus processing speed.
Parametrics
ATMEGA48V-10AU absolute maximum ratings: (1)Operating Temperature: -55°C to +125°C ; (2)Storage Temperature: -65°C to +150°C; (3)Voltage on any Pin except RESET with respect to Ground: -05V to VCC+05V; (4)Voltage on RESET with respect to Ground:-05V to +130V; (5)Maximum Operating Voltage: 60V; (6)DC Current per I/O Pin: 400 mA; (7)DC Current VCC and GND Pins: 2000 mA.
Features
ATMEGA48V-10AU features: (1)High Performance, Low Power AVR 8-Bit Microcontroller; (2)Advanced RISC Architecture: 131 Powerful Instructions – Most Single Clock Cycle Execution; 32 x 8 General Purpose Working Registers; (3)High Endurance Non-volatile Memory segments:4/8/16K Bytes of In-System Self-programmable Flash program memory; 256/512/512 Bytes EEPROM; (4)Two 8-bit Timer/Counters with Separate Prescaler and Compare Mode; (5)One 16-bit Timer/Counter with Separate Prescaler, Compare Mode, and Capture Mode; (6) Real Time Counter with Separate Oscillator; (7)Six PWM Channels; (8)8-channel 10-bit ADC in TQFP and QFN/MLF package; (9)6-channel 10-bit ADC in PDIP Package.
Diagrams

| Image | Part No | Mfg | Description | ![]() |
Pricing (USD) |
Quantity | ||||||||||||
|---|---|---|---|---|---|---|---|---|---|---|---|---|---|---|---|---|---|---|
![]() |
![]() ATmega48V-10AU |
![]() Atmel |
![]() 8-bit Microcontrollers (MCU) 4kB Flash 0.256kB EEPROM 23 I/O Pins |
![]() Data Sheet |
![]()
|
|
||||||||||||
![]() |
![]() ATMEGA48V-10AUR |
![]() Atmel |
![]() 8-bit Microcontrollers (MCU) AVR 4KB FLSH 256B EE 512B RAM-10MHZ 1.8V |
![]() Data Sheet |
![]()
|
|
||||||||||||
(Hong Kong)









